Industrijske armature in avtomatika
3.
Armature za industrijo - Industrial Valves - Industriearmaturen
3.24.
Dušilne lopute
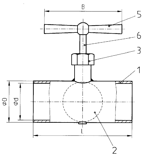
DLV 225 Dušilna loputa z varilnimi nastavki 17,3 do 70 mm
Priključki:
varilni nastavki
Ročica:
krilna
Ohišje:
jeklo
Loputa:
medenina
Vreteno:
medenina
1
2
3
4
5
6
7
8
9
10
11
12
Table of contents
|
Index
Aniton d.o.o. Cesta na Brdo 17, 1000 Ljubljana, Slovenia - Phone: +386-1-2427 880 Telefax: +386-1-2427 884 E-mail:
info@aniton.si