Industrijske armature in avtomatika
3.
Armature za industrijo - Industrial Valves - Industriearmaturen
3.24.
Dušilne lopute
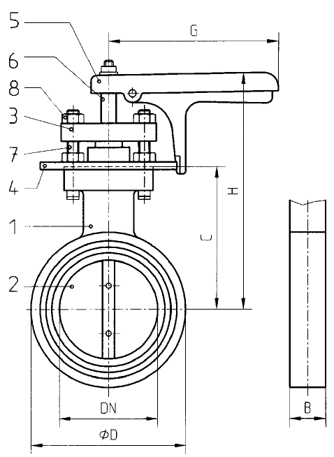
DL 225.3 Medprirobnična dušilna loputa DN 15 do DN 500 PN 10 GGG40/1.4021/1.4021
Vgradnja med prirobnice:
PN 6 DIN 2631
PN 10 DIN 2632
PN 16 DIN 2633
Ročica z vgrajeno vzmetjo za nastavitev.
Položaj odprtja viden na nastavitveni skali.
Dovoljen tlak:
do DN 200 pmax=10 bar nad DN 200 pmax= 6 bar
Ohišje:
EN-GJS-400-15 (GGG 40) 0.7043 nad DN 125 jeklo
Loputa:
X20Cr13 1.4021
Vreteno:
X20Cr13 1.4021
1
2
3
4
5
6
7
8
9
10
11
12
Table of contents
|
Index
Aniton d.o.o. Cesta na Brdo 17, 1000 Ljubljana, Slovenia - Phone: +386-1-2427 880 Telefax: +386-1-2427 884 E-mail:
info@aniton.si